Google запатентовала кепку с камерой

Безумие или необходимая в ближайшем будущем вещь?
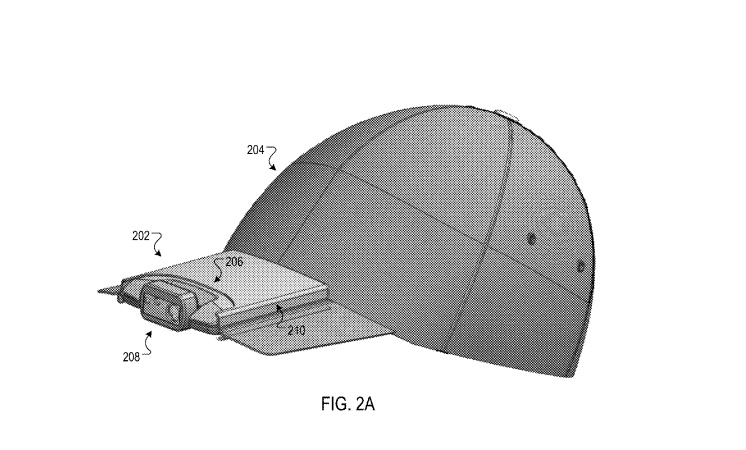
Google запатентовала устройство, которое выглядит как кепка со встроенной в козырек камерой. В описании соответствующей заявки объясняют, что камера предназначена для "интерактивных сессий с пользователем".
Скорее всего, под столь сложной формулировкой авторы патента подразумевают, что новое устройство позволит носителю головного убора снимать фото и видео, публиковать их в соцсети, а также вести прямые трансляции. Выглядеть это чудо техники будет вот так:
Гаджет также сможет записывать аудио и транслировать звук прямо в черепную коробку при помощи специальных вибраций (аналогичная система использовалась в "умных" очках Google Glass, которые в итоге сняли с производства).
О том, когда начнется работа над "умной" кепкой, пока неизвестно.






































































